페라리의 전기 스포츠카 특허 - 2025년이면 첫 전기차를 선보일 것
- 자동차 뉴스
- 2022. 2. 13. 16:02
728x90
반응형

페라리 전기 스포츠카 특허의 특징들은?
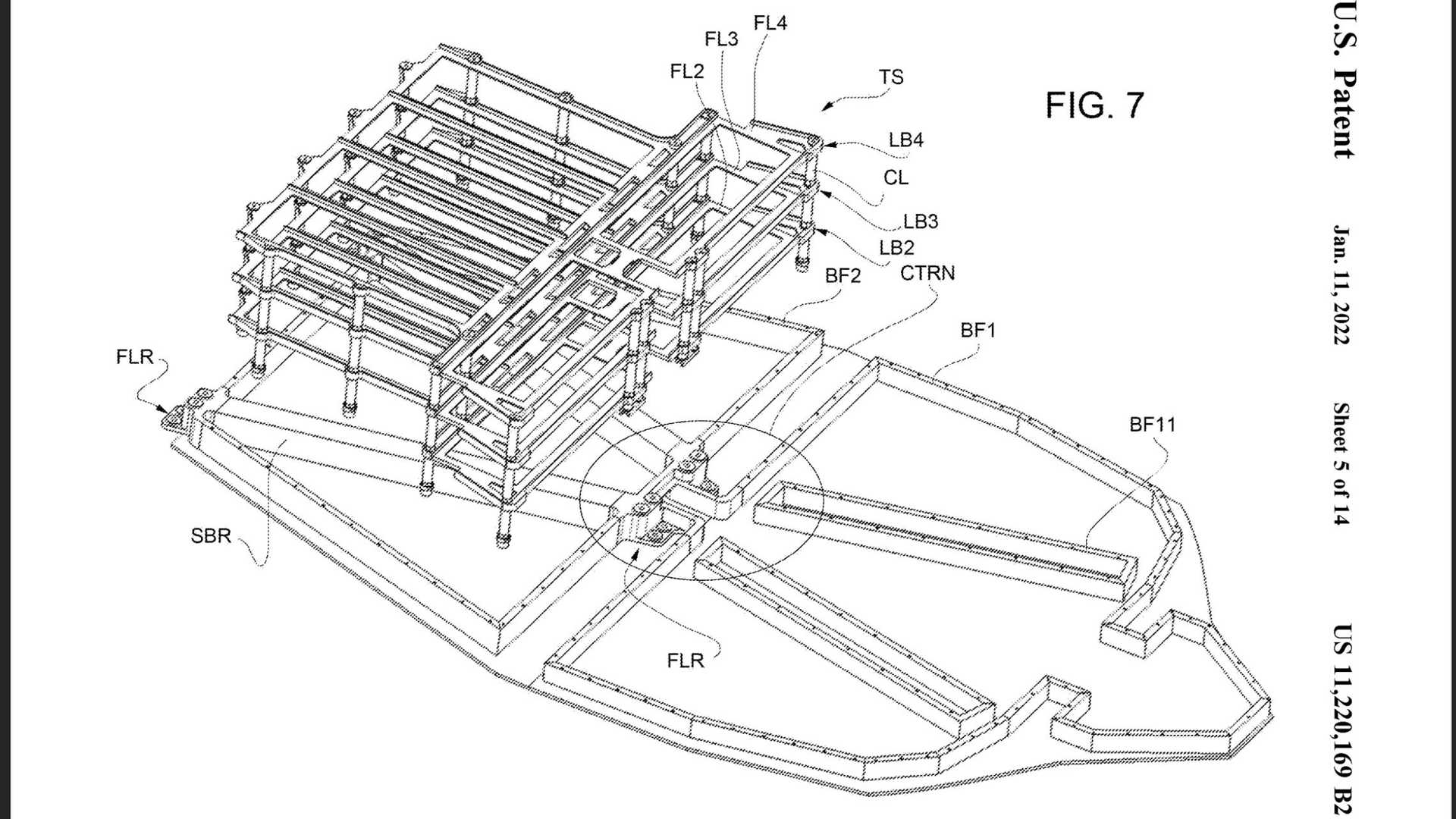
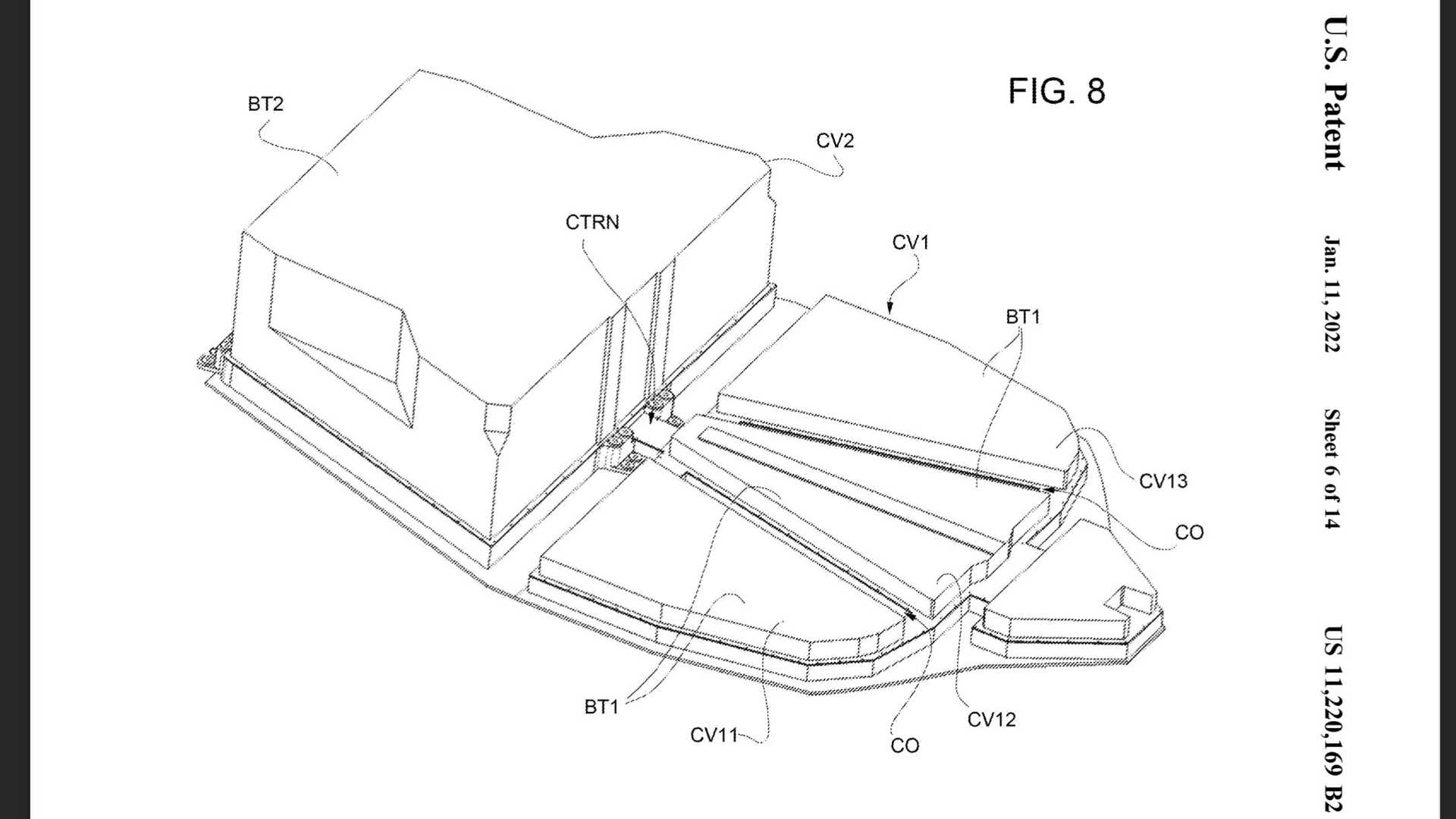
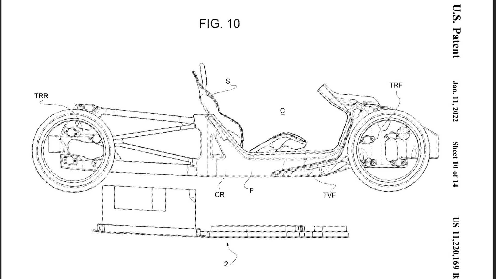
페라리(Ferrari) 가 최근 미국에서 선보인 특허 출원 내용을 보면, 새로운 전기차에 대한 페라리의 생각을 옅볼 수 있다. 순수 배터리 전기차는 물론, 하이브리드에서도 적용 가능한 내용으로, 특허의 특징 중 하나는, 여러개의 배터리 팩을 사용하는 것과 함게, 프레임과 덮개 사이에 배터리를 끼워넣어 섀시의 강성은 유지하는 한편, 배터리를 장착할 수 있는 공간도 확보한다는 것이다. 일단 시트 아래에 얇은 배터리와 함게, 뒤쪽 공간에 더 큰 배터리 공간이 눈에 띈다.




페라리의 전기차 특허에서 조수석 쪽 아래에 얇은 배터리 팩(BT1)을 놓은 한편, 높이가 높아서 승객이 탑승하기에도 문제가 없어보이며, 미드십 형태의 두번째 배터리 팩(BT2)은 더 넓은 공간에서 사용이 가능한 한편, 하이브리드 차량에서도 적용 가능한 구성으로, BT2 공간에 내연기관도 배치시킬 수 있을 충분한 공간이 있업인다. 이 공간에는 원통형 또는 각형 파우치 배터리가 적용될 것으로 보여진다. 한편, 존 엘칸(John Elkann) 페라리 회장은 최근에 주주들에게 이탈리아 브랜드의 첫 전기차가 2025년에 데뷔할 것이라고 밝혀, 2025년에 페라리의 순수 전기차가 공개될 수 있음을 밝혀 기대를 높이고 있다.
<추가이미지>


728x90
반응형
'자동차 뉴스' 카테고리의 다른 글
| 테슬라(Tesla), 6조원 넘는 이익에도 세금은 한푼도 안낸다 (0) | 2022.02.13 |
|---|---|
| 테슬라(Tesla) 는 라이다(Lidar) 센서 사용을 안할까? (0) | 2022.02.13 |
| 이제 자동차 상담/계약도 비대면으로 – 렉서스 L&T 비대면 상담 (0) | 2022.02.11 |
| 2022년형 파사트 GT 2.0 TDI 프레스티지 4모션 출시 (0) | 2022.02.09 |
| 볼보, 차세대 순수 전기차 생산 위해 스웨덴 공장에 1조 3천억원 투자 (0) | 2022.02.09 |
이 글을 공유하기





