혼다(Honda), 헬멧에 레이더 기술을 넣는다.
- BIKE
- 2019. 5. 1. 21:11
728x90
반응형

혼다(Honda), 후방 레이더 시스템으로 후방충돌을 줄인다
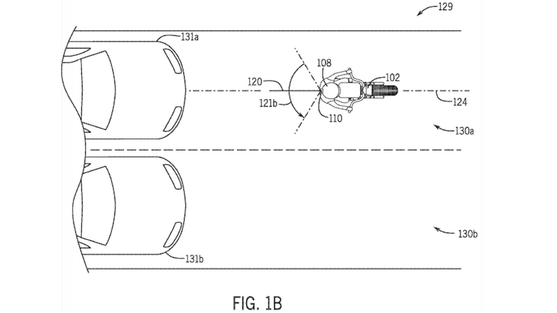
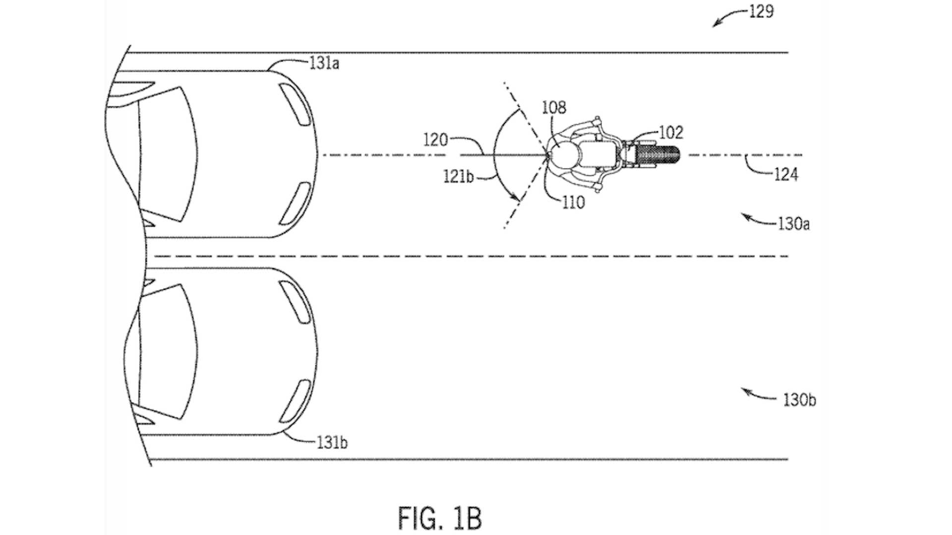
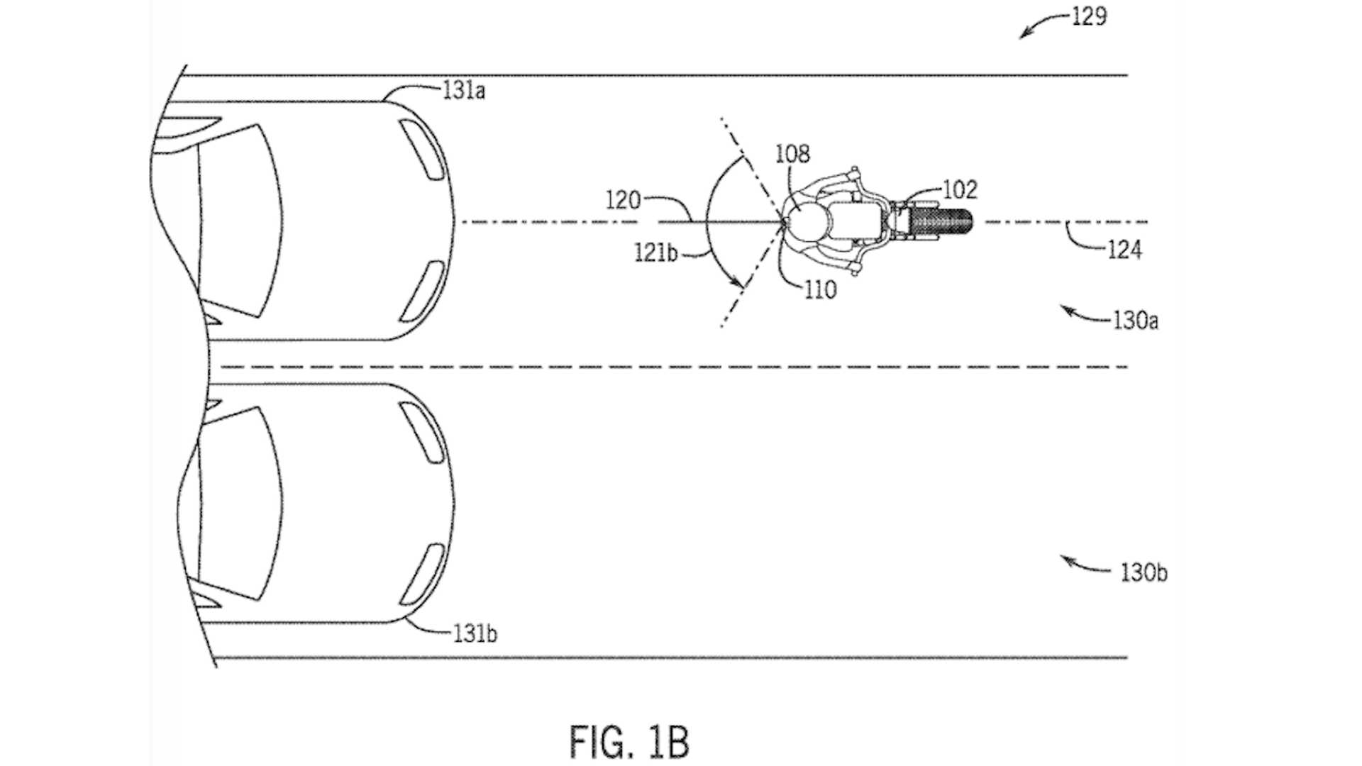
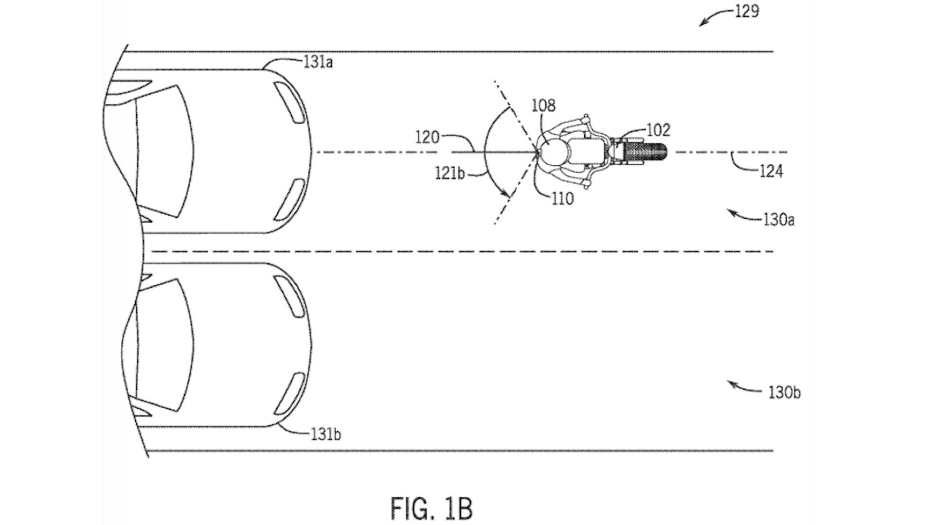
바이크 라이더들에게 후방에서 빠르게 접근하는 차량은 치명적인 위협이 될 수 있다. 의도하지 않았든, 의도했든 위험한 상황이 될 수 있는데, 혼다는 라이더들의 안전을 위해서 후방을 가지할 수 있는 레이더 시스템을 '헬멧' 에 넣기로 했다. 두가티(Dugati)나 스즈키(Suzuki) 의 바이크에 장착한 후방 레이더와는 다른, 헬멧에 레이더를 장착하는 방식이다.

아직 실제로 제품이 나온 것은 아니지만, 혼다는 헬멧에 장착 가능한 후방 레이더를 만들기 위해 무게를 줄이고, 다양한 센서와 마이크로 프로세서를 사용할 것이라고 한다. 물론, 기존의 헬멧보다는 조금 더 무게가 추가될 것이라고 한다. 또한, 이 헬멧 후방 레이더 기술을 통해 사각지대를 감지하고, 다양한 사고 회피 보조 장치로 사용이 되어 라이더의 안전을 보다 더 확보해 줄 것으로 보여진다.

혼다는 이 외에도 안면인식 기술을 이용해 헬멧에 장착된 센서를 통해 바이크의 잠금을 해제하는 특허를 내는 등, 다양한 스마트 헬멧을 만들기 위해 기술투자를 하고 있다. 과연, 미래의 탈것은 얼마나 바뀌고 안전해질지 기대가 된다.
728x90
반응형
'BIKE' 카테고리의 다른 글
| 폭스바겐 비틀로 만든 바이크 - 폭스포드(VolksPod) (0) | 2019.12.11 |
|---|---|
| BMW S 1000 RR 엔진으로 나는 비행기 (0) | 2019.05.21 |
| 라이더를 위한 스마트 에어백 조끼 (0) | 2019.04.04 |
| 할리 데이비슨, 전기스쿠터로 공유경제 시장에 진입한다 (0) | 2019.03.23 |
| 람보르기니 바이크의 정체는? (0) | 2019.03.23 |
이 글을 공유하기





